


История развития искусственных волн до 2000 года
Развитие индустрии искусственных волн пришлось на пик популярности серфинга в 60-х годах, когда все известные открытые споты и лайнапы были переполнены, а отрасль развлечений в аквапарках предлагала всем желающим покорить волну даже живя в пустыне Техаса. В Энциклопедии серфинга подсчитано, что в XX веке было построено 500 бассейнов с искусственными волнами, но лишь малая часть из них была специально предназначена для серфинга, потому что бизнес-модель заключалась в привлечении обычных посетителей с обещанием острых ощущений.
Ближе к 21 веку серфинг в бассейне (indoor surfing, inland surfing, wavepool surfing) и искусственные волны (artifical wave, sheet wave) становились все более популярным не только у посетителей аквапарков, но и среди серферов и брендов, которые спонсировали соревнования в закрытой воде почти 50 лет назад.
В этой статье мы расскажем что такое искусственные волны, покажем первые прототипы современных технологий волногенерации и самые первые соревнования на искусственной волне.
Что такое искусственные волны
Естесственные волны порождает океан, море, ветер, особенности рельефа дна. Искусственные волны порождает созданная человеком установка в бассейне или на водоеме. Искусственные волны имитируют прибой, океаническую волну, волну за катером, могут образовывать трубу и быть похожими на быстрый речной порог, некоторые современные установки позволяют генерировать несколько типов волн нажатием одной кнопки.
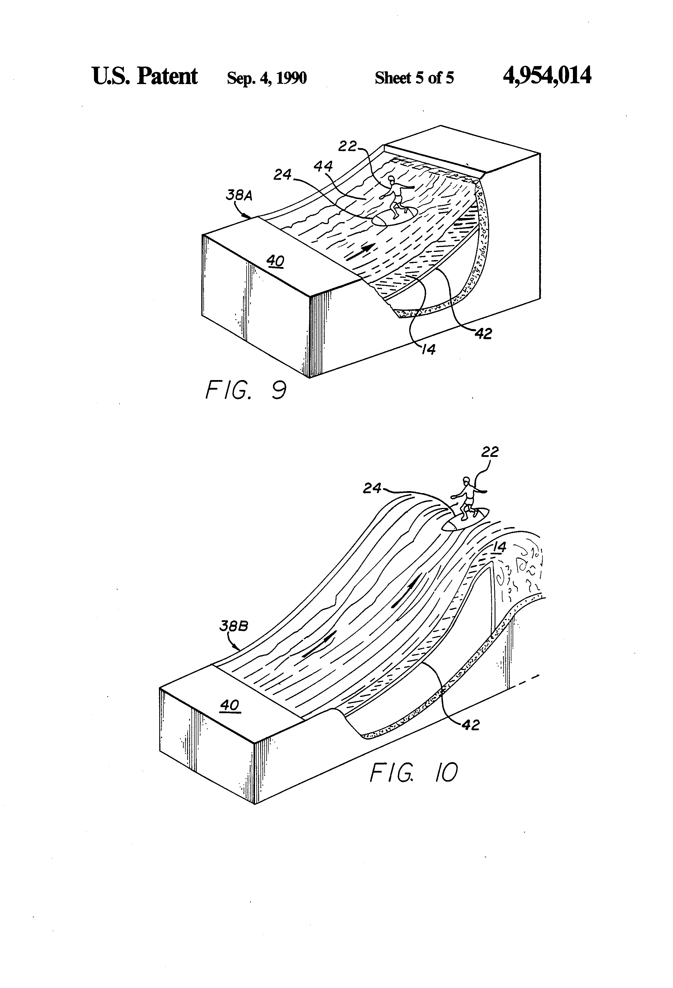
Искусственные волны делятся на две основные категории: динамические (бегущая волна, имитирующая серфинг в океане) и статические (стоячая волна, имитирующая серфинг на реке – rapid surfing).
Для создания динамических искусственных волн используют один из 4-х принципов:
Для создания искуственных волн речного типа на дне бассейна\водоема создают искусственное возвышение (порог) и в некоторых случаях делают искусственное сужение потока в определенной точке, где течение становится максимально быстрым.
Основные плюсы искусственных волн:
- стабильные волны по расписанию, которые не зависят от погодных условий;
- научиться серфингу можно в свободное время, не нужно никуда ехать – ближайшие волны могут располагаться совсем недалеко от дома;
- не нужно выгребать на лайнап, а как известно – серфинг это 95% гребли и 5% серфинга;
- пресная вода и стабильные волны – отличное сочетание для новичков, которые хотят научиться серфингу или подготовиться к океанскому серфингу;
- в одном месте доступны несколько видов волн – от прибойных до больших труб;
- безопасные комфортные условия, ведь не всем нужен экстрим.
- волногенерирующие установки могут быть модульными, что позволяет устанавливать их в краткие сроки даже на самом небольшом водоеме или бассейне.
Предыстория искусственных волн
Если начинать с самой первой волногенерирующей установки, то стоит упомянуть водный комплекс Admiralspalast на острове реки Шпрее в Берлине, где в 1847 году был открыт бассейн с искусственными волнами. Волны создавались с помощью паровой машины Wellenmaschine: приводимые в движение паром большие понтоны поднимали воду и выталкивали её наружу. Рисунков установки не сохранилось.
В 1877 году по приказу эксцентричного короля Баварии – Людвига II, был выстроен уникальный грот с имитацией убаюкивающей волны. Инновационные в Баварии система электрического освещения и волновая машина работали от 24 динамо-машин, приводимых в движение паровыми двигателями электростанции — первой постоянной электростанции в Баварии, построенной специально для этой цели. Людвиг II активно поддерживал исследования в области электричества и освещения, чтобы улучшить конечный результат своих смелых пожеланий.
Да, это не волна для серфинга, однако можно провести параллель с тем фактом, что первые волногенерирующие установки были изобретены и развивались именно в Баварии (Германии).
Волногенерирующая установка 1847 года Wellenmaschine послужила прототипом в следующем поколении паровых установок – Undosa, которую разработала компания Wayss & Freytag и изобретатель Герман Рекнагель. Ундоза впервые была представлена публике на Международной выставке гигиены в Дрездене в 1911 году.
Поршневыми установками типа Ундозы были оснащены немецкий общественный бассейн Бильцбад в 1912 году, венгерская купальня Геллерт в Будапеште в 1927 году. Установка генерировала искусственные волны высотой не более 1 метра, создавая веселый аттракцион для посетителей.
В 1929 году в Мюнхене была построена первая искусственная волна под крышей – Indoor surfers, которая, увы, исчезла вместе с большей частью города во время Второй мировой войны. Чудом уцелели черно-белые кадры.
В 1934 году в Лондоне к национальным Британским имперским играм был построен крытый бассейн Empire Pool, в котором была установка, генерирующая волны до 1.8 метра. Фотографий волн в действии не нашлось.
Все эти установки конечно плохо подходили для серфинга, но стали предтечей для глобального развития в эту сторону, чему способствовал и своевременный прорыв в проектировании и строительстве аквапраков.
Первые искусственные волны для серфинга
Самой первой известной специализированной искусственной волной для серфинга считается японский Surfatorium в Summerland Wavepool, открытый в 1967 году. В Surfatorium катались американские серферы и о нем писали в журнале Surfer.
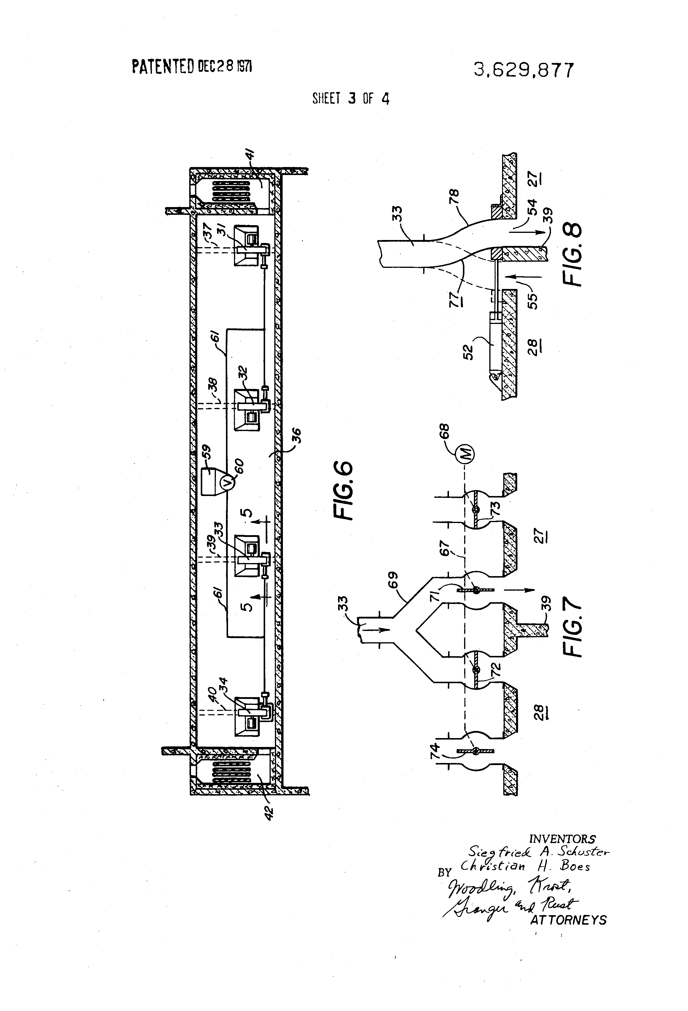
Важную роль в развитии искусственных волн сыграл патент от 1967 года: два ученых из Берлинского университета – доктор Зигфрид Шустер и профессор Кристиан Бёс, изобрели и запатентовали пневматическую волновую систему, которую впоследствии коммерциализировали пионеры волногенерации Wavetek.
В 1969 году в аквапарке Аризоны Big surf была построена первая гидравлическая искусственная волна до 1.5 метров высотой, использующая патент изобретателя Филипа Декстера Instant Ocean от 1966 года. В конструкции использовалось 15 затворов, которые сбрасывали за 1,7 секунды отфильтрованную воду из резервуара в лагуну через подводную перегородку, напоминающую естественный риф. Подводная перегородка, расположенная прямо у задней стенки, помогала формировать волну. Через эту конструкцию вода вытекала из резервуара, ударялась о перегородку, создавала волну, которая затем разливалась по лагуне .
В популярном журнале Sports Illustrated о волне вышла статья INSTANT OCEAN: IT JUST KEEPS ROLLING ALONG.
В 2008 парк вместе с волнами был продан, а в последствии закрыт. В 2012 году аквапарк Big Surf получил статус исторического памятника машиностроения от Американского общества инженеров-механиков. В память о бассейне с был снят документальный фильм, в котором местные жители рассказывали как Big Surf изменил их жизнь.
Наступила эпоха коммерческого использования ранее выданных патентов и собственных доработок компаний, которые стали лидерами в области производства волновых бассейнов и установок. Оснащение бассейнов и парков развлечений искусственными волнами начала захватывать Америку и другие страны.
Wavetek, США, 1970
Пионер волногенерирующих бассейнов Гари Цюрхер, впервые коммерциализировал патент немецких изобретателей от 1967 года, основав компанию Wavetek, которая разработала пневманическую установку WaveTek recreational wave system. Первый проект Wavetek с пневматическим волновым бассейном открылся в 1970 году в парке Пойнт-Маллард (штат Алабама) и он работает и по сей день. Компания производит большое количество водных аттракционов и несколько видов волновых бассейнов.
Aquatic Development Group (ADG), США, 1970
Компания была основана как подрядчик по строительству бассейнов в 1960-х годах Гербом Эллисом. В 1970-х компания ADG запустила первые в Северной Америке бассейны для серфинга с гидравлической системой создания волн.
В начале 1980-х годов компания ADG в сотрудничестве с WaveTek представила пневматическую технологию генерации волн в аквапарках Oasis и Wild Rivers, где проводились сьемки первых фильмов про серфинг на суше и проходили первые профессиональные соревнования. Компания является пионером волногенерации и производит огромное количество водных аттракционов и волновых бассейнов на любой вкус.
Речные волны, Германия, 1965
Пока по всему миру часть серферов развлекалась на хлорированных волнах аквапарков, немецкие серферы открывали споты на своих домашних реках.
Артур Паули один из первых речных серферов Германии, соорудив своими руками доску для серфинга, начал кататься в 1965 году на домашних реках Альц и Изар. В июле 1971 года его приятель Майкл Нат присоединился к нему и успешно серфил без использования веревки, которая помогала серферам на начальных этапах.
В 1972 Артур с братом исследовал Мюнхенские речные волны – Флоссленд и Айсбах. Флоссленд – старейшая искусственная речная волна для серфинга высотой 0,5 метра в Мюнхене.
Волна на реке Айсбах в Мюнхене образовалась в 1972 году после того, как было сброшено несколько бетонных блоков под мостом, чтобы замедлить сильное течение реки в половодье, высота волны от 0.5 до 1.5 метра. В том же году Артур Паули покатался на ней, а в 1975 году уже несколько серферов присоединились к нему и Паули организовал первый Баварский чемпионат по риверсерфингу, где и стал чемпионом.
В 1976 на Флоссленде состоялся 2-й чемпионат по риверсёрфингу. В 1980-х и 90-х годах число любителей речного серфинга в Мюнхене неуклонно росло, и на реке довольно регулярно проводились международные соревнования по речному серфингу «Munich Open». В 1978 году мюнхенские серферы и любители речного серфинга основали Мюнхенскую ассоциацию серферов на волнах (Münchner Wellenreiter e.V.).
С переходом от механического к электронному управлению водоснабжением каналов и изменением русла реки, волны стали пригодными для серфинга только в период половодья весной. В результате очистки канала от мусора в 2025, Айсбах перестал быть пригодным для серфинга, но Мюнхен навсегда останется столицей мирового речного серфинга.
Второй патент, сыгравший важную роль в истории искусственных волн, в 1983 году подал голландский изобретатель Дирк Бастенхоф. Его изобретение Surf wave generator впоследствии использовали известные современные производители волновых бассейнов Wave Loch (FlowRider) и American Wave Machines.
Whitewater (Endless Surf), Канада, 1980
Whitewater и Barr & Wray Waves разработали технологию SurfKing, которая производит искусственные волны высотой до 2.5 метров. Самая популярная волна находится в парке Дисней и называется Typhoon Lagoon Disney.
В 1997 Келли Слейтер выиграл соревнования ASP в Typhoon Lagoon Surf Challenge, проходившее в этом аквапарке – это была его первая победа, где он обошел Роба Мачадо.
В 1985 году в аквапарке Wildwater Kingdom в Аллентауне прошел первый в истории чемпионат по серфингу на искусственной волне – World Professional Inland Surfing Championships, в котором приняли участие 60 профессиональных серферов, в том числе австралиец Том Кэррол, который выиграл этот чемпионат. Событие освещал журнал Surfer, но чемпионат прошел не удачно: пресная вода плохо держала малолитражные серфы, установка несколько раз давала сбой, остальные СМИ недостаточно мощно освещали мероприятие, вероятно по этим причинам второго мероприятия в парке не произошло.
В 1986 в Калифорнии, используя пневматическую технологию Surf Loch, открылся бассейн с искусственными волнами Oasis Waterpark, который в 1987 году послужил ключевым местом съемок культового фильма North Shore. Начальные сцены фильма были сняты в бассейне с искусственными волнами аквапарка Оазис, но по сюжету предполагалось что это искусственный бассейн в штате Аризона, где главный персонаж фильма Рик Кейн научился серфингу и выиграл соревнования.
Аквапарк Wild Rivers был построен в Калифорнии в 1986 году и пару лет пневматические волновые бассейны не пользовались популярностью. В 1988 в парке прошло мероприятие Pro Tour Inland Surf, в котором среди 16 серферов принимали участие Шейн Бешен и Коляныч Слейтер, ставший вторым среди профи впервые в своей жизни.
“Я думаю, это здорово”, – сказал он. “Я просто счастлив, что справился с этим. Это было довольно весело”.
В Японии в 1988 году в спортивном комплексе Izu Nagaoka Sports World, где была установлена пневманическая искусственная волна, прошел контест по серфингу Marui Wavepool Pro, который проводила Association of Surfing Professionals (проматерь WSL). В мероприятии приняли участие серферы Дэмиен Хардман, Мартин Поттер, Люк Иган, Дэйв Маколей и Дерек Хо. Фотографий не обнаружено, есть нашлось видео!
Wave Loch (FlowRider), США, 1991
Серфер-предприниматель Том Лохетфельд основал компанию Wave Loch в 1991 году. В 1988 он запатентовал технологию для создания волн на гладких поверхностях – Surfing-wave generators, которая использует погружные насосы для создания непрерывной мощной волны на мягкой подложке – FlowRider. У изобретателя много интересных патентов, например, настольный симулятор серфинга.
Один из первых аттракционов FlowRider был открыт в аквапарке Vista Waterpark в 1994 в Калифорнии.
Флоурайдер является одним из лидеров индустрии ИВ, предлагая огромный ассортимент установок и видов волн.
В 1993 году в Японии компания Mitsubishi открыла самый большой крытый пляж в мире с волновым бассейном Seagaia Ocean Dome, являющийся, по мнению многих современников, бассейном с лучшими искусственными волнами для серфинга. Благодаря передовым компьютерным системам, гигантским вакуумным насосам и гидравлической установке, одним нажатием кнопки создавались 200 видов волн до 2 метров высотой. На этих идеальных волнах успели покататься и остались довольны известные серферы Оуэн Райт, Джулиан Уилсон, Мэтт Уилкинсон, Митч Коулборн, Хит Джоске, Фабио Гувейя, Джей Дэвис, Бенджи Уэзерли, Тош Таунэнд, Калани Робб, Чад Барти, Тодд Ричардс и даже Тони Хоук.
Тони Хоук рассказывает о волне с 5 минуты ролика:
В аквапарке проходил мировой тур по бодибордингу GOB World Tour. В 2007 пляж был закрыт и снесен в связи с огромными убытками…
Это статья о зарождении и развитии первых искусственных волн 20 века, которые сыграли большую роль в развитии направления ИВ наравне с более современными установками, о которых мы расскажем в статье Искусственные волны: современные технологии.
Алоха!
Автор: Настя Цейслер

























































































